Man-Fre: 10-18Lørdag: 10-15
Finn servicekit og deler til din motor her
* Unntak: Store kjølebokser, sykkelstativ, telt/markiser og andre "oversize" varer.Kontakt oss på hei@eurofritid.no dersom du har spørsmål vedrørende frakt.
Vi tilbyr betalingsløsningene Klarna Kustom og Vipps - velg selv ved utsjekk. Bedrifter kan bli fakturakunde. Send forespørsel til hei@eurofritid.no
Vi lagerfører de fleste av våre produkter ved vårt hovedkontor i Bergen. Vi har butikk og lager i Litleåsvegen 2 på Nyborg. Kom gjerne innom.
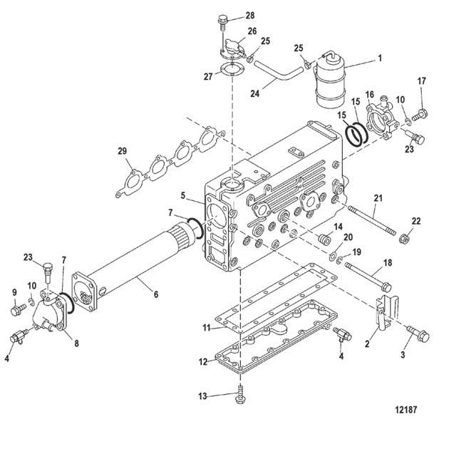
Kjøleproblemer på Mercruiser 1,7 DTI er ikke uvanlig. Det kan være flere årsaker til dette, men et greit sted å starte er å rense varmeveksleren. Set er 2 stk o-ringer i front og 2 stk i bakkant. Dette settet inneholder alle 4.
2 x 882348
2 x 35029